Radiator & Components for 1991 Nissan Stanza
No.
Part # / Description / Price
Price
No.
Part # / Description / Price
Price
4
MSRP $31.88
$22.00
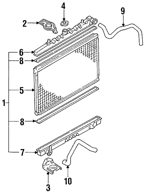
6
Thermostat
Nissan
Nissan Description: The majority of modern vehicles rely on a liquid known as coolant or antifreeze to keep the Engine at optimal temperature. Coolant transfers heat away From the Motor and out of your vehicle. The Engine Coolant Thermostat balances the coolant flow between t ...
MSRP $49.17
$33.93
MSRP $49.17
$33.93
8
Fan Blade
Nissan
Nissan Description: 240SX. From 7/90. Maxima. To 12/96. Altima. Right. Stanza. Without wagon. To 2/97. Axxess.
No.
Part # / Description / Price
Price
4
MSRP $31.88
$22.00
No.
Part # / Description / Price
Price
4
MSRP $31.88
$22.00
No.
Part # / Description / Price
Price
4
MSRP $31.88
$22.00
Related Parts
Part # / Description / Price
Price
Label
Nissan
Nissan Description: 1.6L, rad cap caution. Radiator caution. 2.0L, radiator cap. Radiator cap to 11/06. Convertible, radiator cap.
MSRP $5.23
$3.61
MSRP $5.23
$3.61
MSRP $9.43
$6.51
Cap
Nissan
Nissan Description: Sentra. 1.8L. 2.5L. 6 cylinder. 4 cylinder. 1.6L. From 12/86. 2.0L, japan built. 2.0L, mexico built. 2.0L, us built.
MSRP $10.37
$7.15
MSRP $10.37
$7.15
