Trim - Nissan (91380-01U10)

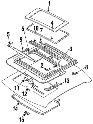
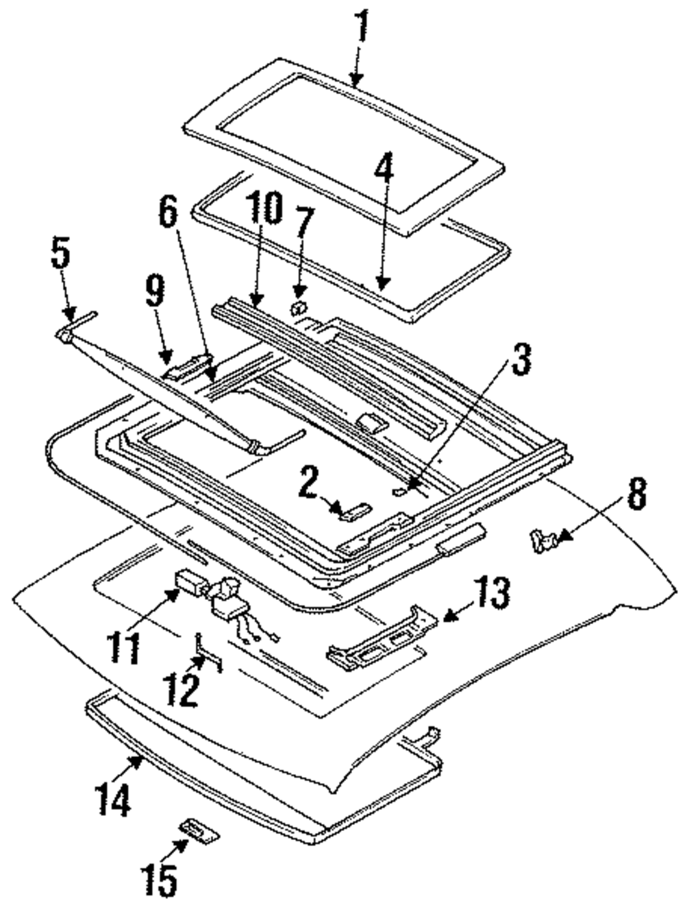
Part can be found as reference #13 in illustration

Trim - Nissan (91380-01U10)

Genuine Nissan Parts
Nissan Parts
  • Nissan
  • 91380-01U10

Details

  • Brand:

     Parts

  • SKU:

    91380-01U10

  • Positions: Right
  • Other Names:

    Trim-Sunroof Side, Right-hand

  • Description:

    2 door. 4 door.

  • Condition: New

Currently Unavailable

Genuine Nissan Parts
Nissan Parts
  • Nissan
  • 91380-01U10

Details

  • Brand:

     Parts

  • SKU:

    91380-01U10

  • Positions: Right
  • Other Names:

    Trim-Sunroof Side, Right-hand

  • Description:

    2 door. 4 door.

  • Condition: New

Vehicle Fitment

Vehicle Fitment
Year Make Model Body & Trim Engine & Transmission
( more fitments)
No fitment data available